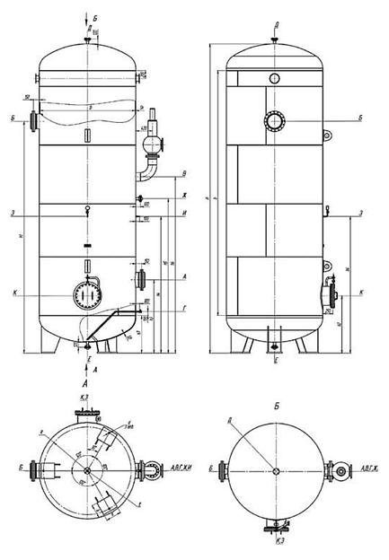
Воздухосборник В-0,5 1,4 МПа
Беру шарттары
Сипаттамасы
Сипаттамалары
- Объём номинальный
- 0,5 м³
- Плотность рабочая
- 1,4 МПа
- Плотность расчётная
- 1,54 МПа
- Диаметр
- 600 мм
- Толщина стенок
- 6 мм
- Высота
- 2000 мм
- Масса
- 295 кг
- Тип опор
- Лапы-стойки
- Назначение
- Уменьшение колебаний давления в воздухопроводах и для создания запаса воздуха при работе воздушных стационарных компрессоров
- Тип
- Ёмкостное оборудование
- Срок изготовления
- 25-45 дней
- Гарантия
- 1 год
- Температура эксплуатации
- -60...+50 °C
- Стандарт использования
- ГОСТ 16350-80
- Сферы применения
- В нефтеперерабатывающей, нефтехимической, химической и газовой промышленности
Документы
ОПРОСНЫЙ ЛИСТ НА РЕЗЕРВУАР
914 КБ
PDF
СЕРТИФИКАТ ИНТЕРГАЗСЕРТ
350 КБ
PDF
СВИДЕТЕЛЬСТВО ОБ ОЦЕНКЕ ДЕЛОВОЙ РЕПУТАЦИИ
289 КБ
PDF
ДЕКЛАРАЦИЯ О БЕЗОПАСНОСТИ МАШИН И ОБОРУДОВАНИЯ
381 КБ
PDF
ДЕКЛАРАЦИЯ О БЕЗОПАСНОСТИ ОБОРУДОВАНИЯ, РАБОТАЮЩЕГО ПОД ИЗБЫТОЧНЫМ ДАВЛЕНИЕМ
216 КБ
PDF
СВИДЕТЕЛЬСТВО О ДОПУСКЕ
131 КБ
PDF
Сізге арналған ұсынымдар
Тұрақты ұсыныс, даналап
Мышь беспроводная Oklick 505MW, радио, оптическая, USB, 1000dpi, белый [1018257]Москва, 1-ая ДубровскаяRUB 430Тұрақты ұсыныс, даналап
Кабель Apple MXLY2ZM/A Lightning (m) USB A(m) 1м белыйРоссия, Санкт-ПетербургRUB 1,605
Подборки товаров в категории Ёмкости
ЕврокубыБаки-аккумуляторыМобильные растворные узлыСтационарные емкостиЦилиндрические резервуарыКонусныеСборные ёмкостиВертикальные резервуары Силосы для цемента и сыпучих материаловСборные резервуарыМеталлические резервуарыПожарные резервуарыРастворные узлыПластиковые емкостиБочки и бакиКанистрыВедра, контейнеры и банкиСистемы храненияБассейны для разведения рыбыСтроительные ёмкостиПищевые резервуарыВодонапорные башниЁмкости технологическиеБункеры и силосыПолевые склады горючего ПСТранспортные ёмкостиГоризонтальные резервуарыРезервуары для воды Конденсатосборники





![Мышь беспроводная Oklick 505MW, радио, оптическая, USB, 1000dpi, белый [1018257] фото 1](https://api.bb.market/bb_storage/files/media/1445316/0/mysh-besprovodnaya-oklick-505mw-radio-opticheskaya-usb-1000dpi-belyj-1018257.jpg?variant=h512)






