Кирпич подвесной ШБ(ШБС) № 111 опт
Условия передачи
Описание
Характеристики
- Физико-химические показатели
- ГОСТ 390-2018 «Изделия огнеупорные шамотные и полукислые общего назначение и массового производства. Технические условия»
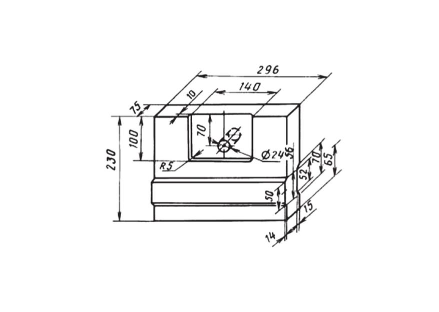
- Форма и размеры
- ГОСТ 8691-2018 «Изделия огнеупорные общего назначения. Форма и размеры»
- Массовая доля Al2O3 ШБ
- не менее 28 %
- Массовая доля Al2O3 ША
- не менее 30 %
- Огнеупорность ШБ
- не ниже 1650 °C
- Огнеупорность ША
- не ниже 1690 °C
- Дополнительная линейная усадка при температуре 1400 °C
- не более 0,5 %
- Открытая пористость для изделий подгруппы I ШБ/ША
- не более 24 %
- Открытая пористость для изделий подгруппы II ШБ/ША
- не более 30 %
- Предел прочности при сжатии, для изделий подгруппы I ША
- не менее 20 H/мм²
- Предел прочности при сжатии, для изделий подгруппы II ША
- не менее 15 H/мм²
- Температура начала размягчения ША
- не ниже 1300 °C
- Объём, см³
- 4 524
Рекомендации для вас
Постоянное предложение, поштучно
Источник бесперебойного питания модульный MTIРоссия, МоскваПо запросу
Подборки товаров в категории Блоки строительные
Блоки строительные перегородочныеИзделия огнеупорные шамотные для кладки доменных печейИзделия огнеупорные для футеровки вращающихся печейФундаменты под дорожные знаки и светофорыПолистиролбетонФБПБордюрИзделия огнеупорные для кладки воздухонагревателей и воздухопроводов горячего дутья доменных печейПеремычкиКлинУДБКамень керамическийФБСИзделия огнеупорные шамотные общего назначенияИзделия огнеупорные алюмосиликатные для футеровки вагранокПлита










