Затвор обратный поворотный 19с53нж Ду80 Ру40
Условия передачи
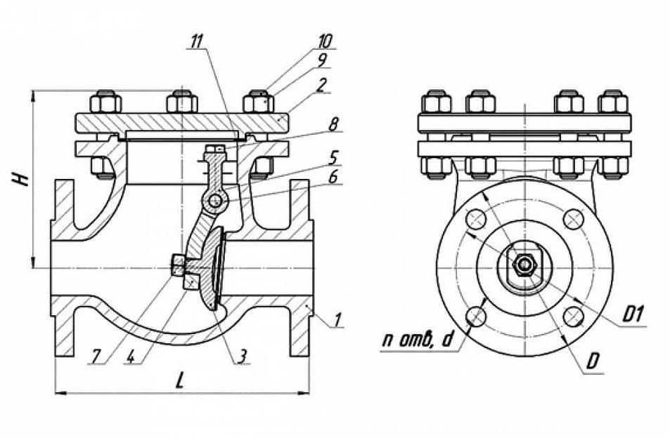
Описание
Характеристики
- Тип арматуры
- Затвор обратный
- Материал корпуса
- Сталь углеродистая
- Привод
- Ручное управление
- Уплотнение
- Сталь нержавеющая
- Диаметр
- 80 мм
- Давление
- 40 бар
- Маркировка
- 19с53нж
- Корпус
- Сталь 20Л-25Л, 30ХМЛ, 20ГЛ с наплавкой 08Х20Н9Г7Т
- Крышка
- Сталь 20, 09Г2С
- Захлопка
- Сталь 20Л с наплавкой 08Х20Н9Г7Т
- Серьга
- Сталь 35Л
- Кронштейн
- Сталь 35Л
- Ось
- 20Х13
- Гайка
- Углеродистая сталь ГОСТ 1050-88 класс прочности не ниже 5 по ГОСТ 1759.5-87
- Болт, шпилька
- Углеродистая сталь ГОСТ 1050-88 класс прочности не ниже 5 по ГОСТ 1759.5-87
- Уплотнение между корпусом и крышкой (прокладка)
- Паронит ПОН-Б, ТРГ
- Рабочая среда
- Вода, пар, масло, нефть, природный газ, неагрессивные нефтепродукты, неагрессивные и слабоагрессивные жидкие и газообразные среды, по отношению к которым, материалы применяемые в клапанах коррозионностойкие
- Температура рабочей среды
- -60...+450 °С
- Условия эксплуатации
- ХЛ1
- Назначение
- Предотвращение обратного потока рабочей среды в технологических трубопроводах
Рекомендации для вас
Постоянное предложение, поштучно
Пищевой рыбий жир rTG 4020 с ПНЖК не менее 65%Россия, МагаданПо запросуПостоянное предложение, поштучно
Пищевой рыбий жир в форме TG (standardized 18/12) стандартизированный с ПНЖК не менее 35%Россия, Магадан1 500 руб.Постоянное предложение, поштучно
Пищевой рыбий жир в форме TG 1611 с ПНЖК не менее 30%Россия, МагаданПо запросуЗапрос КП
Биг-бэг 2-х стропный б/у для переработкиРоссия, Челябинская областьЖдёт отклика Бюджет не определён








