Рекомендации для вас
Постоянное предложение, поштучно
Разветвитель USB ELX-SLP01-C02 4USB 2А коробка черн. Ergolux 15109Россия, Санкт-Петербург274 руб.Постоянное предложение, поштучно
DIN 7500 винты резьбовыдавливающие Taptite (самонарезающие) из оцинкованной или нержавеющей стали, метрическая резьбаРоссия, Республика БашкортостанПо запросуПостоянное предложение, поштучно
Автошампунь для бесконтактной мойки «Heat», желтый, для легковых авто 5 кг ОПТРоссия, Республика БашкортостанПо запросуПостоянное предложение, поштучно
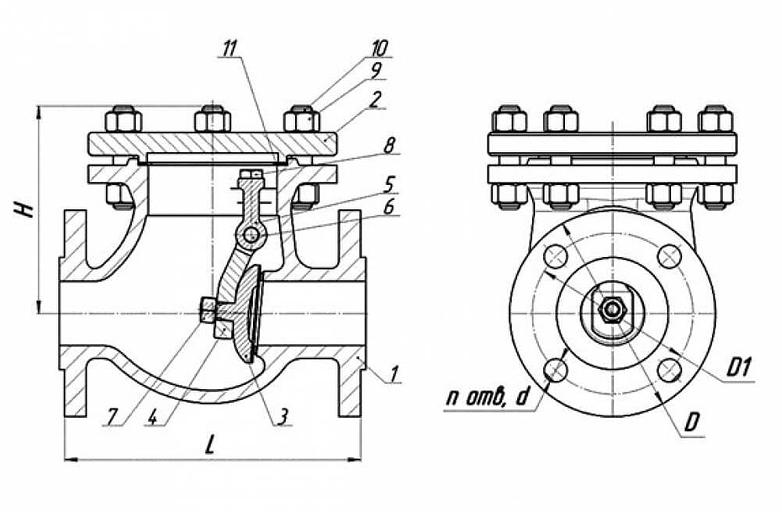
Затвор обратный поворотный 19лс53нж Ду80 Ру40Россия, Республика Татарстан14 006 руб.






