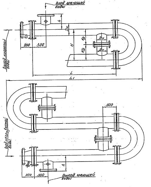
Водоводяные подогреватели
Транспортные компании
Условия передачи
Описание
Характеристики
- Аудиторская проверка
- Не проводилась
- Диаметр, мм
- Д-76, Д-114, Д-168, Д-219, Д-273, Д-325
- Среды
- Вода
Документы
ОПРОСНЫЙ ЛИСТ
221 КБ
DOC
Рекомендации для вас
Постоянное предложение, поштучно
Теплообменники спиральные марки ТС площадью теплообмена 1-200 м²Россия, Ярославская областьПо запросу




















