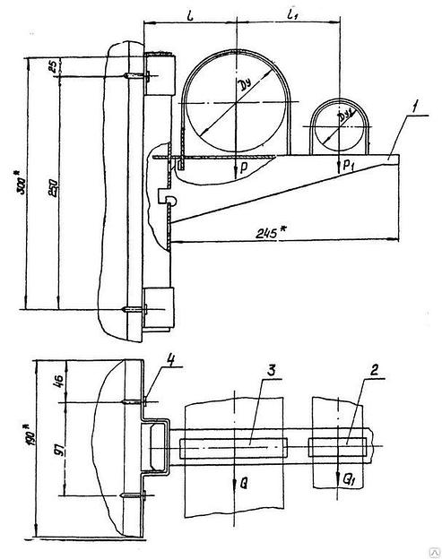
Опора Серия 3.900-9 А14Б 388.000 Выпуск 3
Transfer koşulları
Açıklama
Özellikler
Daimi teklif, adetlik
SSD накопитель WD Black SN850X WDS400T2X0E 4ТБ, M.2 2280, PCIe 4.0 x4, NVMe, M.2Москва, 1-ая ДубровскаяRUB 44.500Daimi teklif, adetlik
Чехол (клип-кейс) BORASCO Microfiber Case, для Samsung Galaxy A16, синий [73885]Москва, 1-ая ДубровскаяRUB 300Daimi teklif, adetlik
Батарея GP Super Alkaline 15AA21-2CRSWC10 AA (10шт) спайкаРоссия, Санкт-ПетербургRUB 600




![Чехол (клип-кейс) BORASCO Microfiber Case, для Samsung Galaxy A16, синий [73885] фото 1](https://api.bb.market/bb_storage/files/media/1479594/0/chehol-klip-kejs-borasco-microfiber-case-dlya-samsung-galaxy-a16-sinij-73885.jpg?variant=h512)



