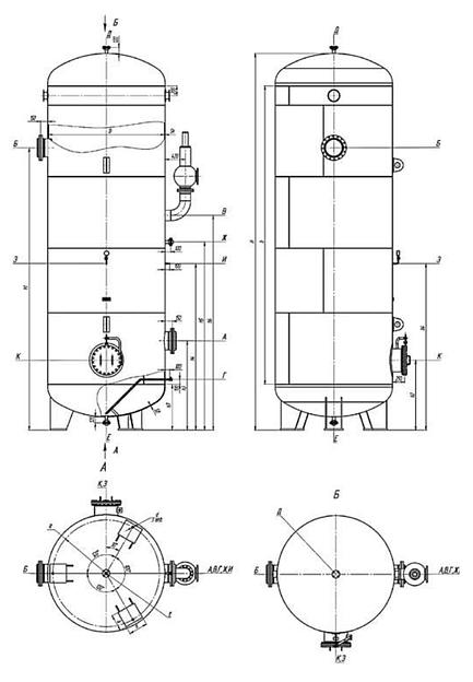
Воздухосборник В-0,5 0,8 МПа
Транспортные компании
Shipping condition
Description
Specifications
- Auditing
- Not conducted
- Объём номинальный
- 0,5 м³
- Плотность рабочая
- 0,8 МПа
- Плотность расчётная
- 0,9 МПа
- Диаметр
- 600 мм
- Толщина стенок
- 6 мм
- Высота
- 2000 мм
- Масса
- 295 кг
- Тип опор
- Лапы-стойки
- Назначение
- Уменьшение колебаний давления в воздухопроводах и для создания запаса воздуха при работе воздушных стационарных компрессоров
- Тип
- Ёмкостное оборудование
- Срок изготовления
- 25-45 дней
- Гарантия
- 1 год
- Температура эксплуатации
- -60...+50 °C
- Стандарт использования
- ГОСТ 16350-80
- Сферы применения
- В нефтеперерабатывающей, нефтехимической, химической и газовой промышленности
Документы
ОПРОСНЫЙ ЛИСТ НА РЕЗЕРВУАР
914 КБ
PDF
СЕРТИФИКАТ ИНТЕРГАЗСЕРТ
350 КБ
PDF
СВИДЕТЕЛЬСТВО ОБ ОЦЕНКЕ ДЕЛОВОЙ РЕПУТАЦИИ
289 КБ
PDF
ДЕКЛАРАЦИЯ О БЕЗОПАСНОСТИ МАШИН И ОБОРУДОВАНИЯ
381 КБ
PDF
ДЕКЛАРАЦИЯ О БЕЗОПАСНОСТИ ОБОРУДОВАНИЯ, РАБОТАЮЩЕГО ПОД ИЗБЫТОЧНЫМ ДАВЛЕНИЕМ
216 КБ
PDF
СВИДЕТЕЛЬСТВО О ДОПУСКЕ
131 КБ
PDF
Recommendations for you
Подборки товаров в категории Ёмкости
КанистрыРезервуары для воды Ёмкости технологическиеСборные резервуарыЦилиндрические резервуарыГоризонтальные резервуарыМеталлические резервуарыБункеры и силосыБаки-аккумуляторыВертикальные резервуары Строительные ёмкостиСилосы для цемента и сыпучих материаловВодонапорные башниПолевые склады горючего ПССборные ёмкостиБассейны для разведения рыбыКонденсатосборникиПожарные резервуарыТранспортные ёмкостиПищевые резервуарыМобильные растворные узлыРастворные узлыСистемы храненияСтационарные емкостиПластиковые емкостиБочки и бакиЕврокубыВедра, контейнеры и банкиКонусные
















