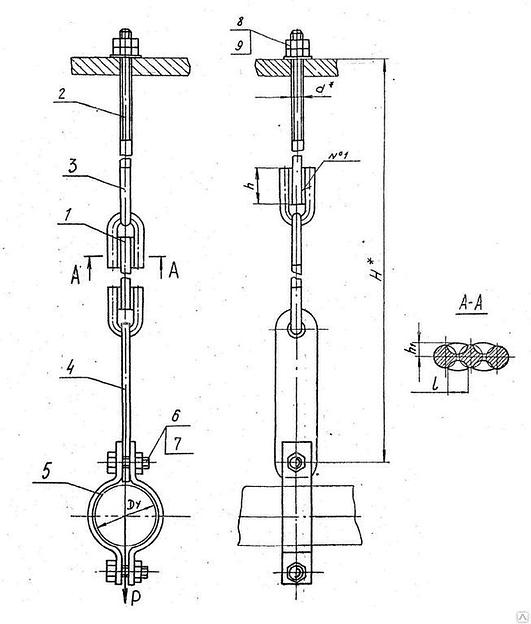
Опора Серия 3.900-9 А14Б 429.000 Выпуск 4
O'tkazish shartlari
Tavsif
Xarakteristikalar
Siz uchun tavsiyalar
Doimiy taklif, donalab
D-Link DGS-1210-28/FL2A Управляемый L2 коммутатор с 24 портами 10/100/1000Base-T и 4 комбо-портами 100/1000Base-T/SFPРоссия, Санкт-ПетербургRUB 601 17Doimiy taklif, donalab
Набор инструментов Ombra OMT94S, 94 предмета [055016]Москва, 1-ая ДубровскаяRUB 030 9









![Набор инструментов Ombra OMT94S, 94 предмета [055016] фото 1](https://api.bb.market/bb_storage/files/media/1489318/0/nabor-instrumentov-ombra-omt94s-94-predmeta-055016.jpg?variant=h512)